進口不銹鋼高溫球閥專為極端高溫工況設計,采用316L不銹鋼、鉻鉬鋼或特殊合金材質,適配溫度范圍-40℃至1200℃15。其核心功能為通過90°旋轉球體實現快速啟閉控制,兼具高壓承載(最高100MPa)與耐腐蝕性能,廣泛應用于石油化工、電力冶金、航空航天等領域56。
進口不銹鋼高溫球閥產品特點
材質優化:閥體采用316L不銹鋼或鉻鉬鋼(WC6/WC9),耐溫達590℃(常規型號)至℃(特殊涂層型號)16;
密封強化:碳化鎢/司太立合金硬密封適配538℃以上高溫,避免高溫變形導致泄漏。
高壓承載能力
鍛鋼閥體滿足ASME B16.34標準,爆破壓力≥1.5倍公稱壓力(最高定制至100MPa)
防火設計符合API 607認證,火災后仍可保持密封完整性
|
稱通徑:DN15-DN250 |
公稱壓力:1.6MPa、2.5MPa |
適用溫度:-10℃-300℃ |
|
適用介質:蒸汽、油品、導熱油 |
閥體材質:鑄鐵、鑄鋼、不銹鋼 |
操作方式:手動 |
進口不銹鋼高溫球閥零部件材質
|
名稱 |
鑄鋼 |
不銹鋼 |
|
閥體螺塞 |
WCB |
F304 |
|
球體 |
WCB-鍍鉻 |
F304 |
|
閥桿 |
45#-鍍硬鉻 |
F304 |
|
閥座填料 |
聚四氟乙烯-石墨+高彈性膠(8202)型 |
|
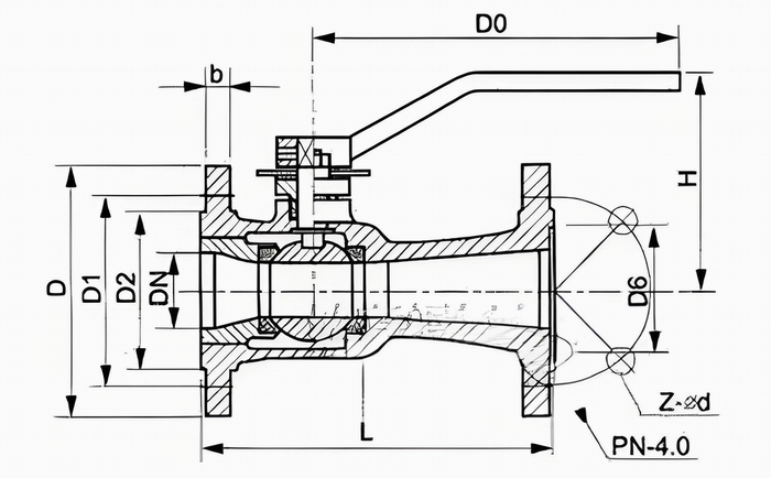
主要外形尺寸和連接尺寸:

|
DN |
L |
D |
D1 |
D2 |
b |
H |
D0 |
|
15 |
130 |
95 |
65 |
45 |
16 |
105 |
150 |
|
20 |
140 |
105 |
75 |
55 |
16 |
110 |
150 |
|
25 |
150 |
115 |
85 |
65 |
16 |
120 |
160 |
|
32 |
165 |
135 |
100 |
78 |
18 |
140 |
180 |
|
40 |
180 |
145 |
110 |
85 |
18 |
155 |
250 |
|
50 |
200 |
160 |
125 |
100 |
20 |
175 |
300 |
|
65 |
220 |
180 |
145 |
120 |
20 |
195 |
300 |
|
80 |
250 |
195 |
160 |
135 |
22 |
225 |
320 |
|
100 |
280 |
215 |
180 |
155 |
24 |
250 |
320 |
|
125 |
320 |
245 |
210 |
188 |
26 |
270 |
360 |
|
150 |
360 |
280 |
240 |
210 |
28 |
290 |
360 |